
一.产品简介
折光仪系精密光学仪器,根据不同浓度的液体具体有不同的折光率,这一原理设计而成。具有使用快速简便测定准确、重量轻、体积小等优点。该仪器能能准确测定蜂蜜的波美度(即蜂蜜的浓度),蜂蜜的含糖量,蜂蜜的含水量。一机多用。是科学研究、食品加工、收购蜂蜜和经营的必备仪器。
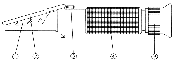
二.仪器的组成部分
1.折光棱镜
2.进光板
3.基准校正螺丝
4.橡胶套
5.调节目镜(清晰度)

三.使用方法
1.将折光棱镜对准光亮方向,调节目镜视度环,直到标线清晰为止。
2.调整基准:测定前首先使标准液(纯净水)、仪器及待测液体基于同一温度,掀开盖板,然后取1-2滴标准液滴于折光棱镜上,并用手轻轻按压盖板得出一条明暗分界线,旋转校准螺栓使目镜视场中的明暗分界线与基准线重合(0%)。
(注:本光学仪器出厂时已调校好,可直接使用。)
3.掀开盖板,用柔软绒布擦净棱镜表面,取1-2滴被测溶液滴于折光棱镜上,盖上盖板轻轻按压,读取明暗分界线的相对刻度,即为被测液体的浓度值。
4.测量完毕后,直接用潮湿绒布擦去棱镜表面及盖板上的附着物,待干燥后,妥善保存起来。

四.技术参数
基本参数 | ||
波美度 | 测量范围 | 38~43°Bé |
精度 | 0.5°Bé | |
含糖量 | 测量范围 | 58~90% |
精度 | 0.5% | |
含水量 | 测量范围 | 12~27% |
精度 | 0.5% | |
品牌 | 陆恒生物 | |
五.注意事项及维护
1.使用完毕后,严禁用自来水直接冲洗,避免光学系统管路进水。
2.在使用与保养中应轻拿轻放,精心保养,光学零件表面不应碰伤划伤。
3.本仪器应在干燥、无尘、无腐蚀性气体的环境中保存,以免光学零件表面发霉。
4.与被测物接触的棱镜属易耗品,不能修复,请予以理解。
5.用户必须遵守上述使用方法,如造成损坏不在保修范围内,不予以保修。






客服1